SHS06
Hydraulic Filter > In-Line Filter > Low & High Pressure
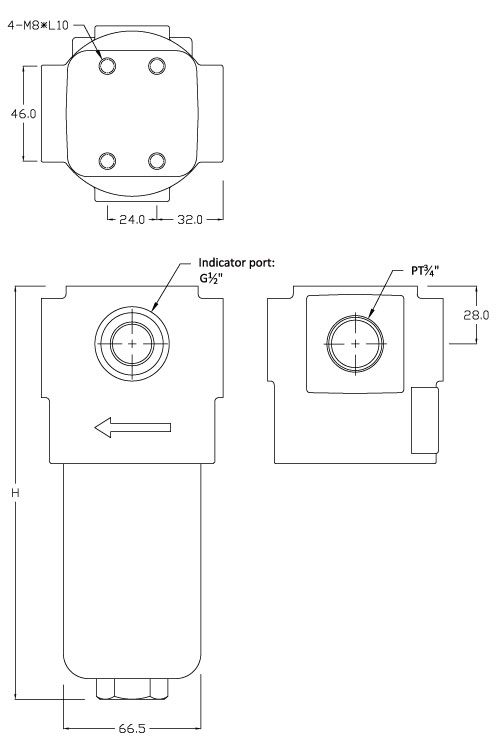
SHS06
SHS Filters are used to protect individual valves or the hydraulic systems.
Three versions SHS06, SHS08 and SHS10 are available with operating pressure at 280 bar (4000psi) and flow rate up to 600 LPM (158 GPM).
They can be directly connected to the hydraulics system through the hydraulic fitting ports.
━Rating
Operating pressure : 280 bar (4000 psi)
Max. operating pressure : 350 bar (5000 psi)
Element ∆P : 210 bar
Flow Rate : 15-120 LPM
━Material of Construction
Head : Steel
Housing : Steel
█ MODEL CONFIGURATION
|
SHS06 |
- |
2 |
- |
T40 |
- |
6 P |
- |
BE |
- |
N |
|
① |
② |
③ |
④ |
⑤ |
⑥ |
①: Series: Steel filter
②: Length, H
|
Code |
Length, H (mm) |
Weight (kg) *without element |
|
1 |
175 |
3.6 |
|
2 |
200 |
3.9 |
|
3 |
300 |
5.0 |
③: Filtration Element
|
Code |
Flow rate (LPM) |
Filtration Rating |
||
|
Length 1 |
Length 2 |
Length 3 |
||
|
A03 |
15 |
20 |
35 |
Microfiber 3μm, β≧1000 |
|
A06 |
20 |
35 |
60 |
Microfiber 6μm, β≧1000 |
|
A10 |
35 |
50 |
70 |
Microfiber 10μm, β≧1000 |
|
A25 |
50 |
70 |
90 |
Microfiber 25μm, β≧1000 |
|
T40 |
75 |
90 |
120 |
Microfiber 40μm |
* This table display a part of filter elements.
If other filtration rating is required, please contact factory.
④: Thread Port
6: 3/4”
P: PT N: NPT G: BSP
⑤: Indicator
0 : None, with plug
BV : Visual indicator
BE : Electrical/Visual indicator
Standard pressure setting at 3 or 4 bar, must be specified at time of order.
For indicator cavity and more details, see indicator page.
⑥: Seal
N: NBR V: Viton
█ DIMENSIONAL DRAWING (mm)

█ SYMBOL
